炒股就看金麒麟分析师研报,权威,专业,及时,全面,助您挖掘潜力主题机会!
来源:中国基金报 安曼
业内关注的最新一批支付牌照续展结果出炉。
7月5日,央行官网公布非银行支付机构《支付业务许可证》续展公示信息(2023年7月第六批),从结果来看,18张待续展的支付牌照中,12家支付机构顺利通过,2家被中止审查,另外还有4家不再续展或主动退出。


具体来看,12家续展成功的机构中,包括易智付、云南本元支付、度小满支付、新浪支付、快捷通5家机构覆盖互联网支付业务,嘉联支付为银行卡收单,其他机构则主要持有预付卡发行与受理许可。
两家被中止审查
因存在《中国人民银行行政许可实施办法》第二十四条规定的情形,中国人民银行决定中止对圣亚云鼎支付有限公司、先锋支付有限公司《支付业务许可证》续展申请的审查。
根据《中国人民银行行政许可实施办法》第二十四条,中国人民银行及其分支机构在审查过程中,有下列情形之一的,可以作出中止审查的决定,并书面通知申请人,法律、行政法规、国务院决定、规章另有规定的除外:
(一)申请人因涉嫌违法违规被中国人民银行或者其他行政机关调查,或者被司法机关侦查,尚未结案,对行政许可事项影响重大的;(二)申请人被中国人民银行或者其他行政机关依法采取限制业务活动、责令停业整顿等监管措施,尚未解除的;(三)申请人被中国人民银行或者其他行政机关接管,接管期限尚未届满的;(四)对有关法律、行政法规、国务院决定、规章的规定,需要进一步明确具体含义,中国人民银行及其分支机构请求有关机关作出解释的;(五)申请人主动要求中止审查,且有正当理由的。
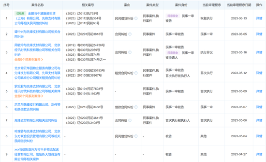
根据天眼查显示,2022年10月圣亚云鼎支付的股东亿利资源集团有限公司的股权被冻结。

另外一家先锋支付,根据天眼查显示,仅就今年以来就涉及10多起诉讼。

最要命的是,在先锋支付涉及的多起诉讼中,还有多家银行、金融机构。
根据法院公布的信息来看,2022年浦发银行天津支行与先锋支付出现合同纠纷,经过天津市河西区人民法院审判,冻结先锋支付名下价值3758多万元的财产或查封、扣押其他等值财产。
不久前,中国建设银行北京铁路支行也因合同纠纷案起诉了先锋支付,辽宁大连市中山区人民法院同样宣判先锋支付败诉,该案执行标的高达792万。
据不完全统计,从2019年7月至今,先锋支付已收到的来自银行金融机构的起诉,未履行执行总额超16亿。
据了解,先锋支付成立于2007年,注册资金1亿元,母公司为曾经的上市公司中新控股。2013年7月,获得支付牌照业务类型为预发卡发行与受理、互联网支付、跨境人民币支付,成为一家拥有全国范围支付牌照的机构。
2019年,同属于先锋系的网信理财被爆出部分理财项目到期无法提现的问题,网信理财宣布清盘。同年6月,中新控股披露,先锋支付被网信理财挪用14.95亿巨额资金,而挪用的大部分资金来源于备付金、数个机构的资金以及银行T+0资金,其母公司中新控股受到牵连,股价一路狂跌直至退市。
挪用备用金的问题被爆出后,先锋支付被中国人民银行责令整改,停止全部运营。
四家退出
在本批次续展申报中,云南银通支付管理有限公司、榆林元亨商务管理有限责任公司未提交《支付业务许可证》有效期续展申请,不再续展。
此外,厦门夏商电子商务有限公司、安徽百家汇支付有限公司在《支付业务许可证》有效期内已主动退出。
有意思的是,在本次续展结果中,在“通过续展”“中止续展申请”“不再续展”等情形之外,有一家支付机构被“漏掉”,即广东信汇电子商务有限公司(简称“信汇支付”)。
根据此前的公开信息,该支付机构高管赵玉华因涉嫌犯罪,已于2022年1月18日被公安机关刑事拘留。同时,信汇支付实际控制人王春江也涉嫌海南易联普惠互联网小贷公司职务侵占等问题,被海口公安立案侦查。
支付牌照越来越少
这是央行公布的第六批支付机构续期审查结果,总体来看支付牌照在一轮轮的审查中,已经越来越少。
2021年5月,首批共有27家支付机构向央行提出续展申请,24家顺利续期五年,3家机构因拟与其控股股东银联商务股份有限公司开展整合工作,向央行提交了中止续展审查申请。
2021年8月,第二批12家机构牌照到期,10家支付机构支付业务许可证获得续展,1家申请终止支付业务,1家被央行中止续展申请审查。
2021年12月,第三批51家支付机构所持《支付业务许可证》到期,央行续展40家。
2022年6月,79家支付机构中52家支付机构续展。
2023年1月,12家支付机构成功续展,另有2家中止审查,4家未提交续期申请。
值得注意的是,根据央行此前续展牌照的惯例,待相关中止情形消失后,中国人民银行将恢复对上述支付机构的审查。例如,首信易支付、嘉联支付、本元支付都曾因存在《中国人民银行行政许可实施办法》第二十四条规定的情形,而被中止审查,但是在此次续展中成功通过。
