北交所市场继续轮涨模式,不计今年上市的次新股,今年以来总共有12只股票涨幅超过30%,其中6只累计涨幅超过70%。随着北交所股票赚钱效应增强,机构也收获颇丰,在11只北交所主题基金中有10只今年以来录得正收益,占比约为90.91%。
对于近期北交所交投活跃、表现亮眼,北交所总经理隋强在昨日举行的第五届西城区企业上市主题交流活动上表示,主要原因在于估值修复和优质企业带动,目前北交所市场整体估值偏低,因此一些“聪明资金”纷纷到北交所来寻找新的投资洼地和投资机会,另外,其认为,好企业自带流量,“一流的交易所是一流企业成就的”。
北交所继续轮涨 机构收获颇丰
近期北交所市场的表现备受瞩目,不仅多只明星股表现出彩,整个市场也进入了轮涨模式。
5月19日,数字人、丰光精密和乐创技术的涨幅均超过10%。奥迪威、美登科技、广道数字、同辉信息等也涨幅居前。
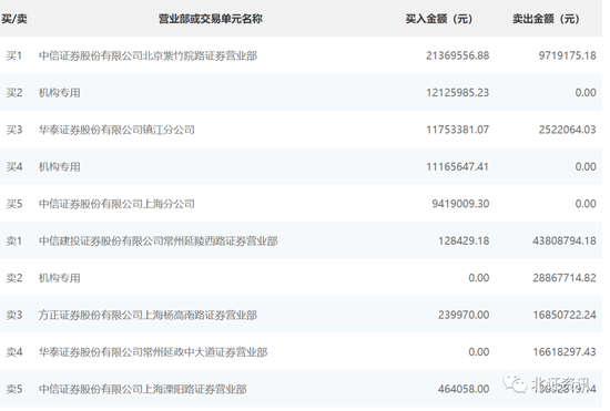
值得一提的是,北交所这轮行情明显有机构参与的迹象。此前涨幅较大的鼎智科技尽管在5月19日股价出现调整,但其龙虎榜显示,机构对其交投起到了推波助澜的作用。其买二、买四席位均为机构,分别吸纳1212.60万元、1116.56万元;而其卖二席位也是机构,抛售2886.77万元。

Wind的统计显示,从今年以来的情况来看,在可统计的162只股票中,累计涨幅超过10%的有36只,占比超过两成,其中12只股票涨幅超过30%。曙光数创、云创数据、德源药业、利通科技、昆工科技和康普化学这6只股票的累计涨幅均超过70%,也先后成为今年北交所的明星股。

随着北交所股票交投活跃,赚钱效应明显,今年初表现不佳的北交所主题基金也扬眉吐气了。统计显示,11只北交所主题基金中有10只今年以来录得涨幅,占比达到90.91%。其中,华夏北交所创新中小企业精选两年定开表现突出,今年以来收益率为21.42%,排名第一。其次是万家北交所慧选两年定开A,今年以来收益率为12.60%。
华夏北交所创新中小企业精选两年定开在进行一季度市场分析时表示,对于北交所的后续表现充满信心,信心来源于几个方面:一是北交所公司目前估值非常便宜;二是从业绩表现来看,很多北交所公司今年以来依然延续了较快的增长速度,发展整体是符合预期的,业绩的持续增长进一步消化了估值。三是政策的密集发布,可以说对这个市场是加大了呵护的力度,政策的暖风对整个市场构成中长期利好。四是北交所目前新挂牌的公司较多,其中不乏优质的个股,供给上来了,给基金增加了筛选的范围,尽管短期可能由于供给增加对整个市场的流动性造成一定的扰动,但增加优质供给是市场长期发展的基石,这使得基金选择优质中小专精特新企业的难度相对降低。
在5月19日举行的第五届西城区企业上市主题交流活动上,证监会非上市公众公司监管部主任鲁颂宾披露,截至目前,北交所合格投资者已有544万户,公募基金、私募基金、保险资金等踊跃参与市场交易。鲁颂宾介绍,2022年北交所日均换手率中位数为0.51%,高于纳斯达克可比板块——全球市场,以及香港联交所主板、新加坡交易所,流动性水平总体符合北交所市场实际,特别是北交所20亿元市值的公司占比为90%。
稳步提升北交所交易活跃度
对于北交所市场这波行情是否具有持续性,市场人士给出了肯定答案。
新三板市场资深人士、广东力量股权投资基金管理有限公司总经理朱为绎表示,北交所这波行情是从4月24日开始,“一般来说,行情启动的标志是成交金额突破10亿元。从3月24日至4月24日,整整一个月的时间,北交所日成交金额一直在10个亿以下徘徊,4月11日和4月12日,成交金额不到4.5亿元,行情非常低迷。4月24日开始,成交金额达到13亿元,这是一个月以来再次突破10亿元,4月25日随着民士达上市,成交金额接近15亿元,然后持续放大成交至5月8日,之后调整了几天,很多人认为这一波行情结束。但我们判断,由于成交金额仍然在15亿元以上,行情具备持续性。”
事实上,5月18日和19日,北交所市场的成交金额均在20亿元以上。对于近期北交所市场交投活跃提升,隋强表示主要由于估值修复和优质企业带动这两大因素。在隋强看来,目前北交所市场整体估值偏低,因此一些“聪明资金”纷纷到北交所来寻找新的投资洼地和投资机会。另外,北交所新上市了一批业绩优良、赛道很新的创新型企业,尽管规模不大,但却广受市场认可,正是这些类型的企业为北交所的市场运行注入了新的活力,因为“好企业自带流量”。
隋强表示,希望将来能有一大批这样优质的中小企业快速进入北交所市场,成为北交所上市公司的中坚力量,“一流的交易所是一流企业成就的”。
北交所的流动性话题一直受到关注。对于市场有一种声音,呼吁加快推进北交所公司转板步伐,认为这波行情由转板带动的说法,隋强表示并不认可这种观点。其坦言,北交所当前市场规模还比较小,支持中小企业科技创新可持续的市场生态还需要持续巩固和完善。这其中既有投融资两端本身结构特点和市场所处发展阶段的原因,也有制度安排不能很好适应市场发展新形势新需要的原因,“交易所建设有自身的规律,不可能一蹴而就,我们将保持定力、坚守定位、主动作为,积极融入国家战略部署,加快推进市场建设,切实承担起服务中小企业创新发展的使命和责任。”
隋强表示,将完善市场交易机制,针对中小市值企业流动性较弱的特点,推进交易机制创新,研究扩大混合做市、融资融券业务规模,充分发挥制度功能;不断优化投资者结构,扩充投资者数量,提升交易效率、促进交易达成。
资深新三板评论人、北京南山投资创始人周运南则呼吁, 科创50ETF已近千亿元,北交所市场期盼北证50ETF也能尽快落地,“期待能在北证50正式上线一周年之际即年底前看到北证50ETF产品的申请。”
周运南表示,就当前而言,建议将北证50ETF放在沪、深市场可以实现无门槛交易,可以让更多投资者来关注、支持和投入北交所。
