原标题:3万亿大行迎风暴! “金融首虎”被查,又跳出个“女老虎”
来源:财通社
作者:王鑫
金融反腐不停歇,随着多位前高管被查,股权频繁转让,IPO迟迟未果,超3万亿资产的广发银行进入多事之秋。
01
退休女老虎被查
3月23日,中纪委网站通报,广发银行原党委委员、监事长王桂芝涉嫌严重违纪违法,目前正接受中央纪委国家监委驻中国人寿纪检监察组纪律审查和辽宁省抚顺市监委监察调查。

时年63岁的王桂芝,19岁时便进入中国人民银行系统工作,担任支行团委书记。
1995年,王桂芝加入广发银行,在广发工作近25年,曾任广发银行南京分行、广州分行等地行长,2013年3月成为广发银行副行长,2018年1月起任该行监事长,直到2020年8月退休。

作为业内并不多见的女干将,王桂芝在职期间曾先后被评为“中国银行业改革开放30年优秀高管”、第六届“南粤巾帼十杰”、广东省“三八红旗手”、“广州市劳动模范”、“广州市用户满意杰出管理者”和“中欧国际工商学院年度十大经济人物”,并连续四年获广发总行“先进分行行长”荣誉称号。
在第六届“南粤巾帼十杰”的评选中,王桂芝被描述为:“凭着过人的胆识和毅力带领班子,大胆创新,科学管理,使银行(广发银行广州分行)从弱到强、扭亏为盈,仅6年多时间,各项存款从142.81亿元增长到505.34亿元,贷款从29.21亿元增长到290.50亿元,成为广发系统经营效益好、业务结构优、内控管理严的大型骨干分行”。
如今,王桂芝退休两年半后突然被查,涉嫌严重违纪违法,女干将成为“女老虎”,究竟所涉何事?
02
或牵涉中国人寿反腐
根据中纪委的讯息,王桂芝此次被查,是由中央纪委国家监委驻中国人寿纪检监察组负责。
2016年7月,经原保监会批复同意,中国人寿集团主要子公司中国人寿保险股份有限公司以受让方式增持广发银行股份至43.6864%,成为广发银行单一最大股东,成功入主广发银行。此后,广发银行董事长由中国人寿集团董事长杨明生兼任。
2018年12月,杨明生因年龄原因辞任,广发银行董事长变更为中国人寿新一任党委书记、董事长王滨。
2022年1月,还在任上的王滨突然被查,成为2022年落马的金融“首虎”,也是中国人寿史上最高级别的落马高管。当时有媒体称,或因其被举报巨额受贿有关。

今年1月,王滨因涉嫌受贿、隐瞒境外存款被提起公诉。检察机关在指控中提到,王滨利用担任中国农业发展银行江西省分行党组副书记、副行长,交通银行北京市分行党委书记、行长,交通银行党委委员、副行长,交银国际信托董事长,中国太平保险集团党委书记、董事长,中国人寿集团公司党委书记、董事长兼广发银行董事长等职务上的便利以及职权、地位形成的便利条件,为他人谋取利益,非法收受他人财物,数额特别巨大。王滨贪腐行为几乎贯穿整个职业生涯。
值得一提的是,2018年1月王桂芝升任监事长时,广发银行该职位已空置一年多的时间。王桂芝的升职也被认为,系中国人寿入主后首次高层变动。从时间线来看,王桂芝退休前与王滨共事将近2年。
03
广发银行多事之秋
广发银行成立于1988年,总资产超3.3万亿元,是目前12家全国性股份制商业银行中唯一没有上市的两家银行之一,另一家为恒丰银行。
早年间,广发银行股权结构分散,加之异常曲折的上市之路,使其持股人几经变更,直至中国人寿入主,股权结构才基本稳定下来。
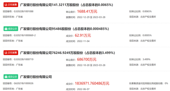
但自去年以来,广发银行的股权又开始频繁挂牌转让,其中最大一笔来自第六大股东中航投资,拟清仓转让广发银行约7.62亿股股份,占总股本的3.499%,转让底价达68.67亿元。信息披露时间为2022年10月20日—2023年3月28日,目前仍没有找到接盘方。
2018年,中航投资参与广发银行增资扩股,以自有资金53亿元认购上述股权,价格为6.9511元/股。持股5年至今,若以转让挂牌底价计算,价格为9元/股,较当初入股价格溢价30%。

另外一则正在转让的股权信息来自股东广东电信,拟全部转让持有的141.3211万股股份,占总股本0.0065%,转让底价为1688.41万元。据此计算,每股转让价格约为11.95元。
不过,根据2022年11月4日的一则转让成交信息,95486股股份转让成交价62.91万元,对应每股成交价格仅为6.59元。因此,上述两起大宗转让能否顺利成交,得打一个问号。
与此对应的是,广发银行近几年来有多外高管相继被查,尤其董事长的意外变更,意味着广发银行短期内基本无望IPO,这可能是股东们撤退的原因之一。
根据梳理,近年广发银行除了时任董事长王滨、原监事长王桂芝外,还有多人被查。
根据中纪委信息,2021年3月,广发银行天津分行原行长赵勇被查,查出的问题同样触目惊心。2022年8月,广发银行沈阳分行原行长杨桦被查。

2022年11月,有媒体报道,广发银行原董事长董建岳因涉嫌严重职务违法犯罪,被辽宁省有关部门从北京带走留置并立案,同期还有多位与董建岳关系密切的人士被带走。不过这条消息未得到充分证实。
另外值得一提的是,广发银行近年来频频收到巨额罚单。2022年12月30日,央行披露行政处罚决定书,广发银行因9项违法行为被警告,并处罚款3484.8万元,同时,广发银行12名相关人员被罚款,额度从1万元至9万元不等。
