专题:许家印因涉嫌违法犯罪 已被依法采取强制措施
炒股就看金麒麟分析师研报,权威,专业,及时,全面,助您挖掘潜力主题机会!
来源:券业行家
许皮带的大结局,俩券商的神同步
正当“恒大系”以临时停牌应对外界猜测之际,行家偶然瞥到位于同城的两家上市券商,齐刷刷的“挂牌卖房”。
网传似已成真
坊间传闻多时后,“许皮带”与“恒大系”,或许有了结论。
9月27日,港股上市的中国恒大(03333.HK)在午后突发“闪崩”;出自同门的恒大汽车(00708.HK)和恒大物业(06666.HK)接连跳水。
隔夜之后,三家恒大系股票均是“免战牌”高挂——自9月28日九时起短暂停止买卖。

跳水和停牌,似乎回应了外界的猜测。保交楼的旧闻,是否会继续烂尾?
眼看他高楼起,眼看他楼塌了。蜗居斗室的行家,想起当年在“恒……大不能倒”等文中的报道,百感交集,五味杂陈。
公开挂牌卖房
说来也巧,因故浏览京东法拍平台的行家,意外发现了一家挂牌卖房的上市券商。
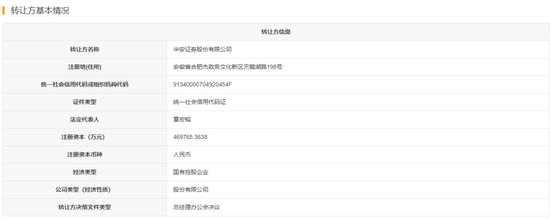
话说,行家偶然点开的这则房产整体转让公告,处置主体栏赫然出现了熟悉的名字——华安证券股份有限公司。

资产简介显示,本项目为华安证券持有的八套商住房产,地址是合肥市庐阳区阜南路166号润安大厦B座。
要知道,这可是合肥市区的中心地带,距离华安证券总部所在地,驾车距离仅有8.8公里。

顺藤摸瓜,行家在安徽省产权交易中心官网找到了这一项目,显示挂牌日期为今年7月,目前已满60日期限。

据页面介绍,本项目决策文件为华安证券“总经理办公会决议”,具体内容和决议日期未知。

动笔算了算,建筑面积合计为5,617.24平方米的八套房产,转让底价为4,491.55万元,折合单价7996元。不到五位数,让并没有多少购房经验的行家颇有些震撼。
当然,考虑到房产性质为商住,且需要一次性付款,这可能是重要因素。
同城券商跟风
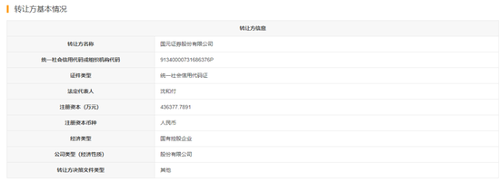
或许是“跟风”,总部同样位于合肥的另一家上市券商,也通过安徽省产权交易中心打包挂牌了两套房产。


从地图来看,位于临泉路与全椒路交口的吟春园小区,地段同样不错——距离国元证券总部的驾车距离只有6.2公里。

其中,10号楼1003室,面积110.56平方米,转让底价121.33万元。而位于隔壁的1004室,面积91.7平方米,转让底价100.64万元。以此计算,两套房产的单价均为10,974元。
行家注意到,作为转让方的国元证券,决策文件类型显示为“其他”。要求倒是相同,一次性支付全款。

与商住房不同,普通住宅的总价较低,流动性较强,或许更容易出手。
今年上半年,国元证券和华安证券营业收入在上市券商中排名第24、29位,归母净利润排名20、26位。
两家同城券商,同步卖房,这是否是某种“信号”?
