炒股就看金麒麟分析师研报,权威,专业,及时,全面,助您挖掘潜力主题机会!
来源:券业行家
以和为贵,国都证券投行三位员工主动撤诉
刚用“花西币”衡量了券商人员的待遇,行家就瞥到国都证券新增多起涉诉信息。这家在新三板挂牌多时的券商,时隔三年,再度提交了变更股东的申请。
劳动争议撤诉
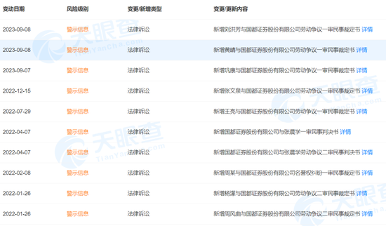
因某神秘机构投诉,券商涉诉最新汇总“404”后,初心不改的行家,发现国都证券出现了多条“警示”。
据天眼查显示,国都证券在9月7日和8日累计新增了三份劳动争议案民事裁定书。并且这是这家券商今年以来首次新增裁判文书。

逐一点开来看,行家发现三起案件的法院均做出裁决,准许原告撤诉。
在此之前,行家曾经点评过国都证券与退休总经理的讨薪纠纷,先后经历了劳动争议和诉讼,走完了一审二审和再审流程,尘埃落定。
而本次涉诉的三名人员,案件尚在一审阶段,为何不约而同的选择“以和为贵”?
投行部门讨薪
出于好奇,行家查看了伟海精英数据,发现三位(前)员工的履历颇有重合之处:此前都由券商同行跳槽而来,并且都在国都证券投行部门任职,目前均已入职别家券商。
其中,刘先生早年任职于中证鹏元资信评估股份有限公司(简称:中证鹏元)。他于2014年1月加入国海证券北京分公司;2017年11月任职于华宝证券投行部门。2018年4月至2021年11月期间,登记执业于国都证券投行一部。2021年11月,他加入浙商证券。
黄女士2016年6月起任职于华宝证券北京分公司;2018年4月加入国都证券,任职于投行一部;2022年6月加入浙商证券。
巩先生此前曾在国海证券北京分公司和大同证券北京分公司短暂任职;他于2018年8月至2021年6月任职于国都证券投资银行总部;2021年7月加入招商证券,任职至今。
由于三位原告均未曾登记执业为保荐代表人,行家无从了解在投行部门具体的任职情况。
据裁判文书网的公开判决,除“总经理讨薪”案外,国都证券原金融市场部有多名人员于2019年离职,诉至法院主张分配剩余奖金。从法院判决来看,要求支付2017年奖金剩余10%递延的诉求获得支持,而2018年度绩效奖金的主张未获支持。
更早之前,时任国都证券债券承销部负责人张先生,于2017年离职后,诉至法院,要求分配2016年业绩提成中部门风险准备金130.3万元,以及毕节债项目主承销项目风险准备金63.4万元。鉴于当事人为毕节债项目承揽人兼团队负责人,法院支持项目奖金63.4万元。
上到时任总经理、部门负责人,下到普通投行人士,国都证券频繁的“讨薪”案,是否有什么情况?
最新业绩表现
当然,这些都是往事。国都证券近期的业绩表现,行家也颇为关注。
2022年,国都证券营业收入9.38亿元,同比下降48.62%;归母净利润3.55亿元,同比下降57.35%。

国都证券表示,行业排名“中位偏上”。行家对比了43家上市券商数据,国都证券净利润位于第一创业(第35位)和西南证券(第36位)之间。
合并利润表显示,经纪业务揽收3.36亿元,同比下降29.36%;自营业务收入2.27亿元,同比下降68.29%;以利息净收入计,信用业务揽收0.68亿元,同比下降67.99%;投行业务揽收0.43亿元,同比下降61.17%;资管业务收入0.12亿元,同比降幅位30.94%。

2023年上半年,国都证券业绩打了个翻身仗。当期营业收入8.32亿元,同比增长50.16%;归母净利润4.28亿元,同比增幅为90.30%。主营业务中,自营业务同比激增203.11%,揽收5.32亿元。经纪、投行、信用和资管业务继续下滑,降幅分别为28.76%、29.77%、40.52%和54.32%。
仍在暂停期间
雪上加霜的是,国都证券投行业务,目前正处于暂停阶段。
北京证监局在今年4月对国都证券下发了四份罚单,剑指公司治理、投行业务和私募资管业务的多项违规。
据监管函披露,国都证券存在股权管理未履职尽责、未依规执行治理程序、激励的约束机制缺失等问题。投行业务方面,国都证券受公司治理影响,存在关联交易管理失当、执行业务未勤勉尽责、合规内控管理薄弱等问题。
为此,北京证监局做出处罚决定:要求国都证券采取切实有效的整改措施,厘清股东股权关系,完善公司治理,建立有效内控机制,切实提升投资银行业务质量。对负有直接责任或者主要责任的人员进行内部问责,并向北京证监局告结果。在2023年4月12日至2023年10月11日期间,暂停国都证券与股票发行相关的保荐、承销业务,公司债券承销业务,资产证券化业务、非上市公众公司推荐业务。
董事长翁振杰和时任董事会秘书朱玉萍,因对公司治理和股权管理事务负有责任人,均被监管约谈。
此外,国都证券私募资产管理业务存在个别产品未设置明确终止日期,存续期为无固定期限;交易管理制度执行不规范,部分投资决策流程执行不到位;压力测试间隔规定不符合要求,流动性风险应急预案更新不及时等问题,也收到了监管警示函。
申请变更股东
耐人寻味的是,国都证券的股权关系,正在等待变更审批。
公开信息显示,国都证券向证监会提交了《证券公司变更主要股东或者公司的实际控制人核准》,于今年9月11日材料接收。

早在三年前的2020年9月11日,国都证券就曾向证监会提交申请,拟变更5%以上股权及实际控制人。这一申请在2020年9月18日进入补正阶段,其后再无进展。

国都证券2023年上半年报中披露,公司无控股股东、实控人。主要股东包括中诚信托有限责任公司(简称:中诚信托)、北京国际信托有限公司(简称:北京国际信托)、国华能源投资有限公司(简称:国华能源)、同方创新投资(深圳)有限公司(简称:同方创新投资)、重庆国际信托股份有限公司(简称:重庆国际信托)、东方创业投资管理有限责任公司(简称:东方创业投资)和山东海洋集团有限公司(简称:山东海洋集团),持股比例分别为13.3264%、9.5873%、7.6933%、5.9517%、5.2820%、5.1288%和5.1288%。
月初,国都证券发布公告称,山东海洋集团(出让方)拟向全资子公司山东海洋控股有限公司(简称:山东海洋控股)协议转让其所持国都证券全部股份299,011,049股,占公司股本的5.1288%。今年8月21日,双方就上述事项签署了《股份转让协议》。本次转让完成后,山东海洋集团不再持有公司股份;山东海洋控股将成为主要股东。国都证券表示,这一股权变更尚需取得证监会的核准。
那么,国都证券劳动争议案的撤诉,是否与主要股东变更,以及投行业务预计解禁有关呢?
免责声明:本文仅供信息分享,不构成对任何人的任何投资建议。投资者据此操作,风险自担。
