炒股就看金麒麟分析师研报,权威,专业,及时,全面,助您挖掘潜力主题机会!
上市银行又迎来机构扎堆调研。
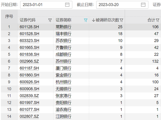
Wind数据显示,截至3月20日,今年以来共有14家A股上市银行迎来机构调研,被调研总次数达98次。
调研纪要显示,上市银行的信贷投放、中间业务收入、净息差等问题依然受到机构关注。随着《商业银行金融资产风险分类办法》《商业银行资本管理办法(征求意见稿)》的发布,上市银行的资本充足率、资产质量也被机构重点关注。

图片来源:Wind
信贷投放提速
对于今年以来的信贷投放情况,成都银行表示,该行今年1月份信贷新增规模好于去年同期。杭州银行表示,2023年“春耕开门红”活动取得较好成果,开年以来信贷增量高于去年同期,主要增长点在对公贷款。
“目前经济处于复苏通道,预计下半年的信贷投放会好于去年同期,全年信贷增量将高于去年。”杭州银行称。
对于2023年的整体信贷投放计划,苏农银行表示,初步规划该行的资产增速及贷款增速仍在15%左右,整体信贷投放增量不低于上年,同时根据整体经济复苏情况,力争在投放速度上有所提升。
资产质量影响不大
今年2月,银保监会发布《商业银行金融资产风险分类办法》《商业银行资本管理办法(征求意见稿)》,这将如何影响商业银行资产质量、资本充足率?
苏农银行表示,该行已基本涵盖《商业银行金融资产风险分类办法(征求意见稿)》的要求,在有些方面甚至严于监管要求执行,因此新规落地对该行的资产质量基本没有影响。
常熟银行表示,目前,该行对于不良贷款的认定严格按照新规的要求执行,逾期90天以上贷款全部纳入不良,同时该行按照审慎原则对信贷和非信贷资产都计提充足的拨备,预计新规实施后对该行不良率、拨备覆盖率及非信贷资产拨备计提影响不大。
对于资本充足率的影响,常熟银行表示,根据《商业银行资本管理办法(征求意见稿)》,该行属于第二档,新规调整了部分业务的风险加权资产计量方法,主要涉及中小企业贷款、信用卡业务、同业投资、表外业务等,整体来看,新口径对该行资本充足率影响不大。
谈及《商业银行资本管理办法(征求意见稿)》对于商业银行的影响,平安证券银行业分析师袁喆奇认为,新规对信用风险权重计量要求有较多调整和细化,整体来看银行零售和对公客户整体资本占用在调整后会有所下降。总体而言,信用风险权重调整,有利于对零售客群和中小微企业经营能力更强的银行。
净息差下行空间有限
在让利实体经济的背景下,银行的经营效益和息差问题也受到关注,上市银行对此积极回应。
杭州银行表示,营收增长压力始终存在。目前整个行业的净息差在收窄,但该行净息差水平大幅下行空间较小,下降幅度将有限。总体来看,该行2023年的营收增幅中枢较2022年会略有回落,但未来仍能在行业内保持较好位置。
为应对负债端带来的净息差压力,紫金银行介绍,根据同业挂牌利率情况,该行已于今年1月13日下调活期、协定存款、通知存款、三个月储蓄存款、六个月储蓄存款及五年期对公存款等多个存款产品的挂牌利率,引导中长期存款向短期存款转化。
日前,央行决定于3月27日降低金融机构存款准备金率0.25个百分点(不含已执行5%存款准备金率的金融机构),这将有助于银行体系控制负债成本。不过,对于银行业的整体发展,光大证券(维权)认为,未来进一步强化负债成本管控仍迫在眉睫,预计在结构性存款、协定存款等方面,可能再度出台政策“压量控价”。
